



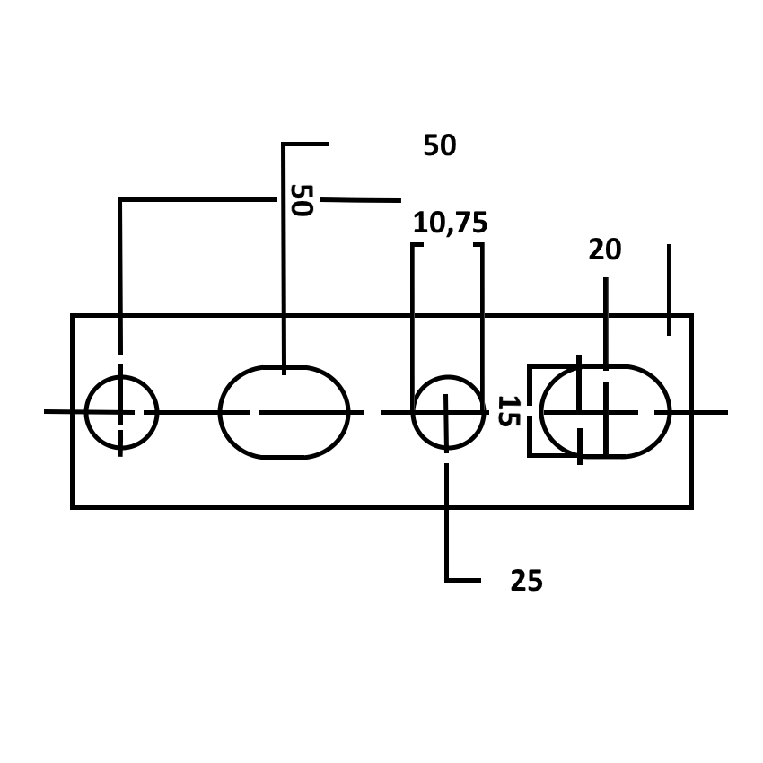
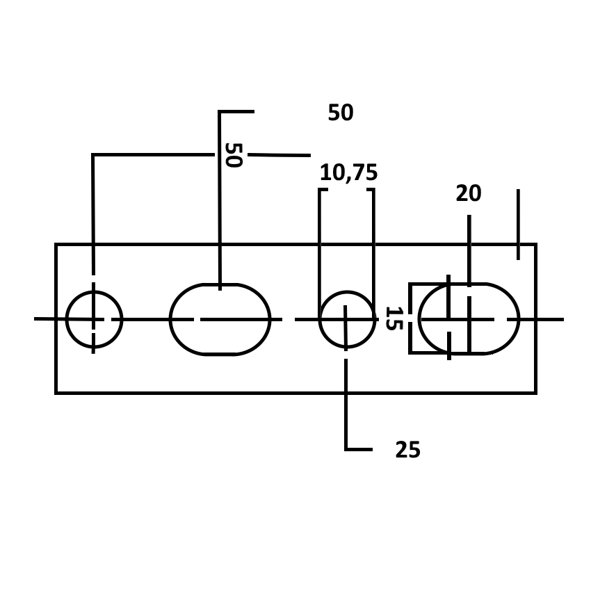
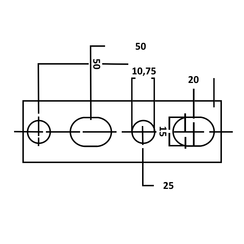
T45 gataslá frá Gebhardt-Stahl
Stærð: 30 x 45 mm Lengd: 5 mtr
Gatastærðir: 20 x 15 mm og 10,75 mm
Thanks to the combination perforation with round and slotted holes, our mounting rail T 20 proves to be a versatile solution for the professional and simple suspension of rectangular air ducts. To ensure a high load-bearing capacity and the best statics, all our mounting rails are made of 1.75 mm thick galvanised slit strip. As an option, you will find matching insulating rubbers in our range to prevent a sound bridge or sound decoupling, as well as end caps for a visually clean finish to the mounting rail and to reduce the risk of injury at cut edges.